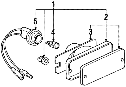
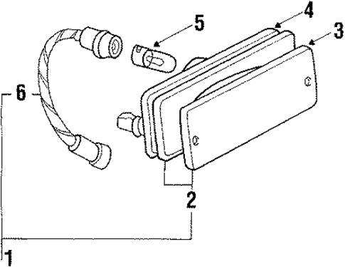
Side Marker Lamps for 1989 Hyundai Excel
Vehicle
1989 Hyundai Excel
Change Vehicle
- Bumper Assembly
- Bumper Assembly - Rear
- Center
- Center Pillar & Rocker
- Cowl
- Door
- Door Assembly
- Fender
- Front Door
- Fuel Door
- Glass - Front Door
- Glass - Windshield
- Glass & Hardware
- Grille
- Hood & Components
- Information Labels
- Instrument Panel
- Interior Trim
- Lift Gate
- Overhead Lamps
- Quarter Panel & Components
- Rear Body
- Rear Door
- Roof & Back Glass
- Seats & Track Components
- Structural Components & Rails
- Sunroof
- Tailgate
- Trunk
- Alternator
- Antenna & Radio
- Battery
- Bulbs - Chassis
- Components On Dash Panel
- Components On Radiator Support
- Distributor
- Flashers
- Gauges
- Headlamp Components
- High Mount Lamps
- Horn
- Ignition Lock
- Ignition System
- Instruments & Gauges
- License Lamps
- Park Lamps
- Powertrain Control
- Seat Belt
- Senders
- Side Marker Lamps
- Signal Lamps
- Starter
- Starter & Related Components
- Switches
- Switches, Solenoids & Actuators
- Tail Lamps
- Window Defroster
- Wipers
- Bumper Assembly
- Bumper Assembly - Rear
- Center
- Center Pillar & Rocker
- Cowl
- Door
- Door Assembly
- Fender
- Front Door
- Fuel Door
- Glass - Front Door
- Glass - Windshield
- Glass & Hardware
- Grille
- Hood & Components
- Information Labels
- Instrument Panel
- Interior Trim
- Lift Gate
- Overhead Lamps
- Quarter Panel & Components
- Rear Body
- Rear Door
- Roof & Back Glass
- Seats & Track Components
- Structural Components & Rails
- Sunroof
- Tailgate
- Trunk
- Alternator
- Antenna & Radio
- Battery
- Bulbs - Chassis
- Components On Dash Panel
- Components On Radiator Support
- Distributor
- Flashers
- Gauges
- Headlamp Components
- High Mount Lamps
- Horn
- Ignition Lock
- Ignition System
- Instruments & Gauges
- License Lamps
- Park Lamps
- Powertrain Control
- Seat Belt
- Senders
- Side Marker Lamps
- Signal Lamps
- Starter
- Starter & Related Components
- Switches
- Switches, Solenoids & Actuators
- Tail Lamps
- Window Defroster
- Wipers
Browse Categories
Select category
- Bumper Assembly
- Bumper Assembly - Rear
- Center
- Center Pillar & Rocker
- Cowl
- Door
- Door Assembly
- Fender
- Front Door
- Fuel Door
- Glass - Front Door
- Glass - Windshield
- Glass & Hardware
- Grille
- Hood & Components
- Information Labels
- Instrument Panel
- Interior Trim
- Lift Gate
- Overhead Lamps
- Quarter Panel & Components
- Rear Body
- Rear Door
- Roof & Back Glass
- Seats & Track Components
- Structural Components & Rails
- Sunroof
- Tailgate
- Trunk
- Alternator
- Antenna & Radio
- Battery
- Bulbs - Chassis
- Components On Dash Panel
- Components On Radiator Support
- Distributor
- Flashers
- Gauges
- Headlamp Components
- High Mount Lamps
- Horn
- Ignition Lock
- Ignition System
- Instruments & Gauges
- License Lamps
- Park Lamps
- Powertrain Control
- Seat Belt
- Senders
- Side Marker Lamps
- Signal Lamps
- Starter
- Starter & Related Components
- Switches
- Switches, Solenoids & Actuators
- Tail Lamps
- Window Defroster
- Wipers
- Bumper Assembly
- Bumper Assembly - Rear
- Center
- Center Pillar & Rocker
- Cowl
- Door
- Door Assembly
- Fender
- Front Door
- Fuel Door
- Glass - Front Door
- Glass - Windshield
- Glass & Hardware
- Grille
- Hood & Components
- Information Labels
- Instrument Panel
- Interior Trim
- Lift Gate
- Overhead Lamps
- Quarter Panel & Components
- Rear Body
- Rear Door
- Roof & Back Glass
- Seats & Track Components
- Structural Components & Rails
- Sunroof
- Tailgate
- Trunk
- Alternator
- Antenna & Radio
- Battery
- Bulbs - Chassis
- Components On Dash Panel
- Components On Radiator Support
- Distributor
- Flashers
- Gauges
- Headlamp Components
- High Mount Lamps
- Horn
- Ignition Lock
- Ignition System
- Instruments & Gauges
- License Lamps
- Park Lamps
- Powertrain Control
- Seat Belt
- Senders
- Side Marker Lamps
- Signal Lamps
- Starter
- Starter & Related Components
- Switches
- Switches, Solenoids & Actuators
- Tail Lamps
- Window Defroster
- Wipers
No.
Part # / Description / Price
Price
No.
Part # / Description / Price
Price
Related Parts
Part # / Description / Price
Price
Hyundai